Ремень газораспределительного механизма
|
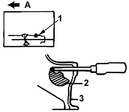
В это время установочные метки шкива распределительного вала и крышки головки блока цилиндров должны совместиться, а установочный штифт шкива распределительного вала должен находиться вверху (Рисунок 2.15). |
Снятие |
|
Снимите шкив коленчатого вала, шкив водяного насоса и ремень привода (Рисунок 2.16). |
Снимите кожух зубчатого ремня. |
Снимите автоматический натяжитель зубчатого ремня привода газораспределительного механизма. |
|
Снимите зубчатый ремень привода газораспределительного механизма. |
|
Удерживая от проворачивания гаечным ключом за лыску распределительный вал, выверните болт крепления и снимите шкив зубчатого ремня с распределительного вала (Рисунок 2.17). |
|
|
Перед отворачиванием гайки крепления шкива масляного насоса сначала удалите пробку с левой стороны блока цилиндров и заблокируйте балансировочный вал (Рисунок 2.18). Для этой цели используйте отвертку диаметром 8 мм, вставив ее на глубину более 60 мм. |
Отверните гайку крепления шкива масляного насоса и снимите шкив масляного насоса. |
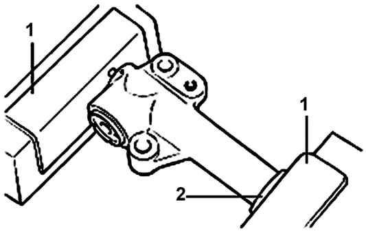
Ослабляйте крепления шкива правого балансировочного вала до тех пор, пока не сможете отвинтить его вручную. |
Снимите натяжитель зубчатого ремня «B» и зубчатый ремень «B». |
|
Снимите шкив «B» с коленчатого вала (Рисунок 2.19). |
|
Проверка |
Шкивы распределительных валов и натяжителя, направляющий шкив |
Проверьте шкивы распределительных валов, шкив натяжителя и направляющий шкив на отсутствие износа, трещин или повреждений. Замените при необходимости. |
Проверьте шкив натяжителя и направляющий шкив на легкость и плавность вращения, а также на отсутствие люфта и постороннего шума при вращении. Замените их при необходимости. |
Замените шкивы, если есть утечка смазки. |
Автоматический натяжитель |
Проверьте автоматический натяжитель на отсутствие утечек и замените по мере необходимости. |
Проверьте шток автоматического натяжителя на отсутствие износа или повреждений и замените по мере необходимости. |
|
Измерьте выступание штока. Если оно не соответствует установленному, замените автоматический натяжитель (Рисунок 2.20). |
Выступание штока должно быть 14,5 мм. |
|
В тисках, губки которых защищены мягким листовым металлом, медленно вдавите шток в натяжитель (Рисунок 2.21). Если шток вдавливается легко, замените натяжитель. |
|
Зубчатый ремень привода газораспределительного механизма |
Проверьте зубчатый ремень на отсутствие следов масла или пыли. Если необходимо, замените ремень. Небольшие отложения необходимо вытереть сухой тряпкой или бумагой. Не чистите зубчатый ремень растворителем. |
После ремонта двигателя или регулировки натяжения ремня осторожно проверьте состояние ремня. При наличии каких-либо повреждений, приведенных в табл. 2.3, замените зубчатый ремень новым. |
| Таблица 2.3 |
| Возможные повреждения зубчатого ремня привода газораспределительного механизма |
|
Установка |
|
Установите шкив «B» на коленчатый вал (Рисунок 2.22). |
|
|
Смажьте тонким слоем моторного масла наружную поверхность втулки и затем установите ее на правый балансировочный вал. Убедитесь, что втулка установлена в направлении, показанном на Рисунок 2.23. |
Установите шкив на правый балансировочный вал и закрепите его болтом с буртиком. |
Совместите установочную метку на каждом шкиву с соответствующей установочной меткой на переднем картере. |
После установки зубчатого ремня «В» проверьте, чтобы со стороны его натяжения не было провисания. |
Установите натяжитель «В» так, чтобы центр шкива был расположен слева от монтажного болта, а фланец шкива был направлен к передней части двигателя. |
|
Совместите метку на шкиву правого балансировочного вала с меткой на переднем картере (Рисунок 2.24). |
Поднимите натяжитель «B», чтобы натянуть зубчатый ремень привода «B» так, чтобы сторона его натяжения была туго натянута. При этом условии затяните болт, чтобы зафиксировать натяжитель «В». Если болт затянут, он препятствует совместному проворачиванию вала. Если вал проворачивается совместно, ремень будет чрезмерно натянут. |
Убедитесь, что установочные метки совмещены. |
Проверьте натяжение зубчатого ремня. |
Метод 1. |
После нажатия на центр ремня на стороне натяжения в направлении стрелки провисание ремня должно находиться в пределах спецификации. |
Прогиб ремня – 5–7 мм. |
Метод 2. |
Измерьте натяжение зубчатого ремня, используя прибор для измерения натяжения. |
При длине ветви ремня 139 мм и приложении давления 42 кПа крутящий момент должен находиться в пределах 50–100 Н·м. |
|
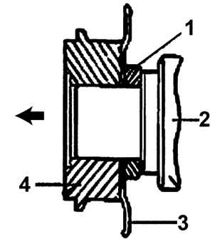
Установите фланец и шкив коленчатого вала на коленчатый вал. Убедитесь, что установили его в направлении, показанном на Рисунок 2.25. |
|
Установите специальную шайбу и вверните болт крепления шкива к коленчатому валу и затем затяните болт крепления шкива моментом 110–130 Н·м. |
Через отверстие под заглушку вставьте отвертку так, чтобы заблокировать левый балансировочный вал в исходном положении. |
Установите шкив масляного насоса и закрепите гайкой, затянув ее моментом 50–60 Н·м. |
Установите шкив распределительного вала и закрепите болтом, затянув его моментом 80–100 Н·м. |
Установите автоматический натяжитель. |
|
Установите шкив натяжителя на рычаг механизма натяжения. |
Момент затяжки шкива натяжителя – 43–55 Н·м. |
Поверните шкив распределительного вала таким образом, чтобы установочный штифт шкива находился сверху. Правильно установите установочную метку шкива. |
|
|
Если проводится установка шкивов на распределительные валы впускных и выпускных клапанов, установите их после проверки меток в зависимости от рабочего объема двигателя (Рисунок 2.26). |
Совместите установочные метки шкива коленчатого вала. |
Совместите установочные метки шкива масляного насоса. |
Натяните зубчатый ремень против часовой стрелки вокруг шкива натяжителя и шкива коленчатого вала. Левой рукой наденьте зубчатый ремень на шкив натяжителя. |
Правой рукой наденьте зубчатый ремень на шкив масляного насоса. |
Натяните зубчатый ремень вокруг правого направляющего шкива. |
Натяните зубчатый ремень вокруг шкива распределительного вала впускных клапанов. |
Поверните шкив распределительного вала выпускных клапанов на один зуб по часовой стрелке, чтобы совместить его метку с верхней поверхностью головки цилиндров. Натягивая ремень обеими руками, установите его вокруг шкива распределительного вала выпускных клапанов. |
Осторожно поднимите шкив натяжителя таким образом, чтобы ремень не провисал, и временно затяните центральный болт крепления шкива. |
Повторно проверьте совмещение установочных меток каждого шкива (см. Рисунок 2.15). |
Достаньте провод, блокирующий шток натяжителя. |
|
Проверните коленчатый вал на два полных оборота по часовой стрелке и оставьте его на |
15 мин. Затем измерьте выступание A (Рисунок 2.27) штока натяжителя (расстояние между рычагом натяжителя и корпусом натяжителя) и убедитесь, что оно соответствует требуемому – 6–9 мм. |
|
Установите нижний и верхний кожухи зубчатого ремня (Рисунок 2.28). |















