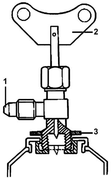
Присоединение вентиля к контейнеру с хладагентом
Перед подсоединением вентиля к контейнеру поверните ручку до упора против часовой стрелки. |
|
Поворачивайте диск против часовой стрелки до тех пор, пока он не достигнет самого высокого положения (Рисунок 9.2). |
Соедините центральный шланг с резьбовым штуцером. Вручную поверните диск до упора по часовой стрелке. |
Поверните ручку по часовой стрелке, чтобы пробить отверстие в герметичной крышке в верхней части контейнера. |
Поверните ручку до упора против часовой стрелки, чтобы заполнить центральный шланг воздухом. Не открывайте клапаны высокого и низкого давления. |
Ослабьте гайку крепления центрального шланга, подсоединенного к штуцеру манометра. |
Выпустите воздух в течение нескольких секунд и затяните гайку. |

